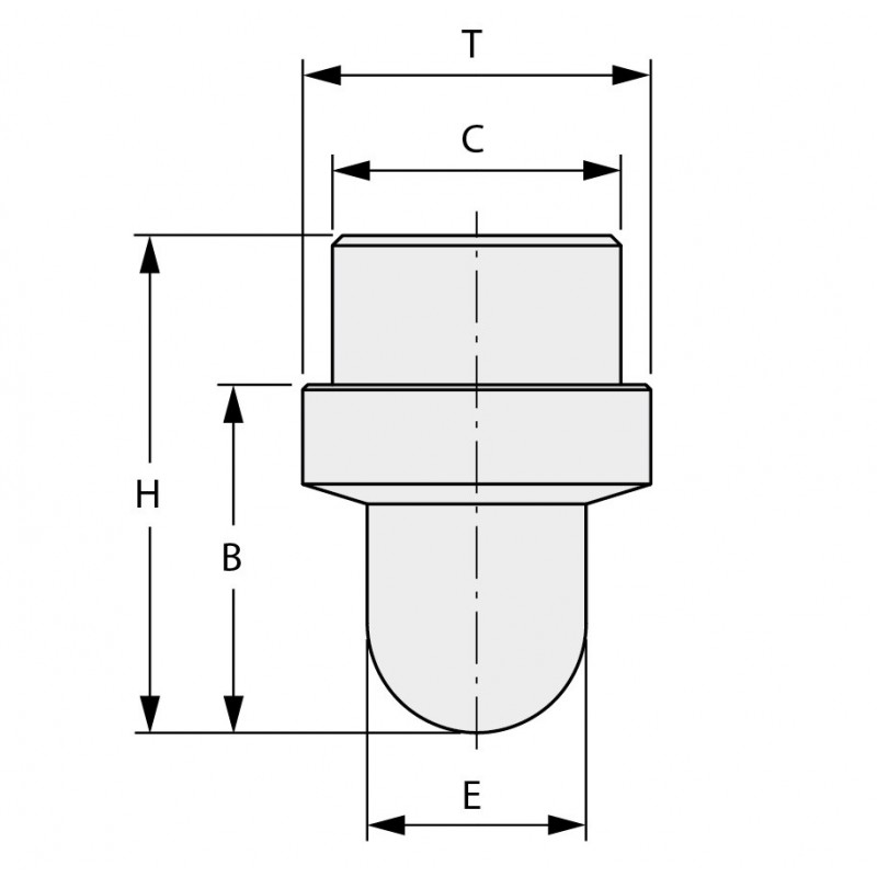
Pivots pour tubes

FA7277
Pivots pour tubes
search
  • Pivots pour tubes
Pour gonds «ferronnerie»
  • Matière: Acier

PAIEMENT

SÉCURISÉ

LIVRAISON

24/48h

STOCK

GARANTI

Ce produit existe en plusieurs versions ou dimensions